静压下复合壳的屈曲分析与试验
静压下复合壳的屈曲分析与试验
1、摘要
本文的主要目的是研究有限元方法(FEM)对层状复合圆柱壳屈曲和有效性承受外部静水压力,此外,基于ASME和美国航运局(ABS)的屈曲压力方程,并根据USN125的要求定制现场材料也被介绍。
为了确定复合材料在外部静水压力下的应用,对碳-环氧丙烷复合材料URN300A进行了材料试验USN125。测定了两种复合材料的纤维和树脂的强度和刚度,采用圆柱面板试验研究垂直线l下屈曲后的行为。利用ABA QUS6.6规范进行了有限元分析,采用基于特征值问题解的线性屈曲模型和基于弧长的非线性模型各种情况的方法。此外,还进行了外部静水压力试验,以验证数值分析。这些结果与以前有限元得到的结果进行了比较嘲笑。有限元与测试结果的差异预计约为18%。
2、导言
在深水中作业的水下车辆应设计成具有压力船体,以保持足够的强度和刚度,以抵御外部静水压力。以防受压壳体结构上的载荷,如压力船体,屈曲很可能在应力程度上产生,这远远低于材料的极限强度。壳体的压缩屈曲因此,结构最近得到了大力研究。
例如,预计在潜艇中的压力船体上应用复合材料可能会降低结构本身的重量。此外,隐身技术可能作为军事结构具有优越的优势。
本研究的重点是有限元方法的屈曲和后屈曲行为的叠层复合圆柱壳在外部静水压力下的效率,以及可行性。通过面板和气缸屈曲试验,研究了层合复合材料的应用可行性。此外,还与汽车后有限元分析进行了比较。进行特征值屈曲分析,建立了层合复合壳的静水试验和基于ASME和ABS的修正屈曲方程圆柱壳设计参数的H、厚度和直径。

3、层合复合材料的应用研究
3.1 材料的选择和力学性能试验
由于需要较高的刚度和易购性,碳环氧丙基复合材料、URN300和URN125被认为是一种的材料,通过试验对所选船体和材料性能进行了评价。试验得到URN300和URN150的材料性能如表1所示。
3.2 在压缩载荷下在圆柱形面板上的屈曲
利用商业代码ABA QUS6.6进行了屈曲分析,以确定层合复合图的行为。放置的圆柱形面板,通过屈曲试验验证了压缩载荷和分析结果。
3.2.1 有限元分析
单元S8R由8个节点组成,作为叠层复合屈曲分析的单元,而复合板则由[02/90]测序的8个堆叠组成在分析中应用了2]s和[±45/0/90]s,以及测试中的力学性能。面板几何形状为半径200mm,长度120mm,弧角60°,堆垛厚度,叠层复合面板为1.84mm。边界条件被认为是两端的简单支撑。此外,这是一个假设的非线性屈曲分析是适当的特征值分析的第一种模式存在缺陷。
3.2.2 叠层复合圆柱面板的屈曲试验
在进行外静水压试验之前,用为试验而制造的叠层复合圆柱面板进行了屈曲试验,并与分析结果进行了比较层压复合压力容器的确定试验。本实验采用Instron5582,在图中捕获了变形1。

图1. 复合面板的扣压试验。

图2. 圆柱面板的荷载-挠度曲线。
表2. 实验与ABA QUS最大屈曲载荷的比较

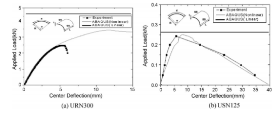
3.2.3 结果和讨论图
其中2包含根据每个堆叠序列[02/902]s和[±45/0/90]s包含有限元分析结果。特别说明变形阶段,按阶段划分,所有的耳标都是鸟类翅膀的形状,而从屈曲试验和分析中得到的结果在表2中进行了比较。USN125对屈曲BEC更有效,在屈曲前具有高模量的URN300断裂。
4、复合圆柱壳静压屈曲试验及有限元分析
为了识别复合材料设计的圆柱的屈曲载荷和屈曲后行为,并验证有限元分析,采用圆柱模进行了静压屈曲试验为这个测试而制造的。
4.1 外静水压试验及分析
如图3所示采用金属法兰的双接头制作了半径为158mm、长度为600mm的柱形复合材料静压试验模型一个复合壳。静水压力容器的一侧被设计成开口,以便通过增加静水压力来检查气缸的变形。对URN125的标本进行了PR准备测试。表3表示层合复合圆柱壳的尺寸。用ABA QUS对堆垛角为[0/90]12T的复合圆柱进行了屈曲分析6.6。
4.2 成果和讨论
表3显示了静水压力试验和有限元分析,总的来说,两者是一致的。

图3. 静压容器屈曲试验用复合缸。
5、复合圆柱壳设计因素分析
在这一部分中,旨在通过提出复合圆柱壳的设计因素和进行有限元分析来领导复合屈曲方程。
5.1 设计因素的选择
确定没有加劲环的圆柱壳屈曲压力的因素是复合材料的杨氏模量(E11,E22)、泊松比(12)、复合壳厚度(T),复合壳直径(D0)和复合壳长度(L)。由于存在r,设计因素应该被无量纲描述,这可能是有效和一致的各因素之间的相互关系。因此,情商。(1)参考了近年来广泛研究的ASME规范(Fibre,2004)允许压力方程。(1)可能是通常用于短圆柱壳(L/Lc),如下所述。

在各向同性材料的情况下,经验弹性屈曲方程。(3)由温登堡提议,用于ABS(美国航运局)。

5.2 衬板弯曲分析
将8节点的S8R作为合适的单元应用于复合屈曲分析,并以复合试验的值作为材料性能。每一个具体的长度,半径,用于复合屈曲分析的圆柱壳纵向弹性模量的厚度和范围见表4。关于堆垛顺序[0/90]s,在分析中使用了8种不同长度的300~650mm,间隔50mm,6种不同直径的300~800mm,间隔100mm,3种不同的纵向弹性模量(131,151,171GPa),基于USN125,选择简支条件作为边界条件。


5.3 屈曲压力方程的归纳
利用线性屈曲分析的屈曲压力值定义了极限屈曲压力方程,从有限元分析中发现,2.38是“K”屈曲因子,而从ASME代码中提取2.6。图4给出了有限元分析结果与基于每个设计因子(t/D和D/L)的插值结果的比较图片,两者都显示出来几乎是彼此匹配的。因此,可以在有限元分析的屈曲压力基础上,建立一个新的复合屈曲压力方程,对所建立的方程进行修正。
6、结论
采用有限元分析方法,建立了外压复合圆柱壳的屈曲分析方法,通过对面板和碳/环氧丙基复合材料、URN300和URN125进行材料性能测试,应用复合材料。
(1)试验发现,URN125具有较高的强度和较低的弹性模量,可能更合适。
(2)结果表明,有限元分析和静水试验结果吻合较好。
(3)改进的复合屈曲压力通过对建立的ASME进行修正,结合各种设计因素进行有限元分析,给出了方程。
转载请注明精川材料检测地址:www.jctest.vip

