管道无损自动静水压力测试系统
管道无损自动静水压力测试系统
1、摘要
压力容器由恒定排量泵加压,压力传感器感知压力并操作伺服系统v/hich驱动记录器的记录,数字手段测量他转动选泵并驱动录音机的图表。因此,记录仪指示被测容器的压力与体积特性。
本发明涉及静水压力测试系统,尤其涉及管道无损自动静水压力测试系统。

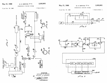
图1. 本发明所述静水压试验系统的框图
压力容器,如管道中使用的管道的静水试验是在磨坊进行的,直到最近的25年,磨坊测试显然未能在管道中找到uflawsM由现场发生的施工不当引起的。现在对管道进行了现场测试,管道使用的增加增加了这种现场试验的必要性和所使用的系统完成-3°测试。
压力容器的静水试验由管道的“油田试验”部分组成,现场测试是通过密封一段管道来完成的,并将水抽入密封的部分。a水的体积增加,管道上的35压力按比例增加,即在直线的基础上,直到达到管道的弹性极限。当p的弹性极限当比例压力增加,达到IPE时,水的体积增加得更多。屈服强度是通过定义-40所需的应力,使0.2%的永久应变在TH样本。如果这种情况不发生在压力与体积曲线的某些规定的限度内,则被测试的试样被认为是令人满意的。
除了“屈服强度试验”外,还进行了泄漏试验。也就是说,如果压力与体积曲线发生显著偏差,泵就会关闭,压力与时间的测试是进行,而不是压力与体积的测试。通常情况下,这些测试运行5°30分钟或1小时。
测试使用自动记录器进行,以获得测试的永久多边形记录。目前采用的自动录音设备复杂、昂贵、易发生故障不利的环境条件和噪音问题。此外,改变设备以确保对不同的测试的适用性是相对困难和繁重的管道,或不同材料的管道。
因此,本发明的目的是提供60种新型的自动静压试验设备。
本发明的一个更特殊的目的是提供相对不受“噪音”和在现场环境问题影响的自动静水测试设备。
本发明的另一个目的是提供自动65matic静水测试设备,其中测量设备到测试设备的距离不那么关键。
本发明的另一个目的是提供可方便地与不同尺寸和/或材料的管道或压力容器一起使用的70的自动静压试验设备。
根据本发明的一个示例性实施例,提供了一种在大EN上自动记录被测压力容器的压力与体积特性的方法大尺度。用压力传感器准确、连续地确定压力。换能器的输出驱动伺服记录器的驱动手段。压力上升为f泵入管道部分的流体体积,如水。因此,泵入管道的流体越多,压力就越大。压力-体积关系是恒定的直到管道的弹性极限被超过。所用水泵为恒位移式水泵。因此,体积的值是通过附加一个特殊的“齿轮”以数字增量获得的还有泵的磁吸。因此,从泵的转速数可以很容易地得到泵入管段的水量。 拾取器的数字输出是放大的驱动数字步进电机。步进电机依次带动记录仪的纸张驱动机构。因此,记录是由刻字机移动和步进电机移动人员获得的T是被测管段所需的压力与体积特性。数字输入可以很容易地改变,以测试不同的大小,长度和材料的管道由我依靠改变“齿轮”齿的数量或通过在拾取脉冲放大器内的电分频器电路电。
为了进行泄漏测试,步进电机输入是从定时脉冲发生器时钟而不是从磁拾取器导出的,结果是一个“压力与时间”的特征。
本发明的上述列举对象和特征将从以下详细描述中容易理解,并结合附图Wher伊恩。
如图所示一,所述装置,如压力歧管11,用于将所述高压源(如泵12)耦合到所述高压容器或所述管道13的截面上。泵12i是一种恒定排量的泵,如正排量活塞式恒定输送泵。因此,一个恒定体积的流体被移动每一次旋转的泵。泵12可能是MOV由各种不同的原动机,如电动机或汽油发动机,对于这种性质的大多数静水试验,使用电动机。
如自重测试仪14,也耦合到压力歧管11。自重测试仪14作为主校准器,用于监测连接INT的压力传感器16没有歧管,并确定最终压力是正确的。本发明所述设备示例性模型中的压力传感器为应变品种,即Comme对那些精通艺术的人来说,是可用的和众所周知的。
电位器意味着,如电位器17,在换能器16的输出处提供,以调节和校准从换能器接收到的输出信号。电位的输出R17可以连接到功率放大器,如功率放大器18。放大器18的输出驱动伺服电机,如伺服电机19。伺服电机19用于驱动笔21,在图表上来回移动。如水平线所示,画在铭文或钢笔21上面,用垂直向下的尖箭头示意性地描绘。
随着压力或磅每平方英寸压力对5的管段增加,笔21向右移动。当施加在被测管段上的压力增加一定增量,例如,200p.s.i,笔被驱动穿过图表到其极端的右侧边缘。如虚线19a所示,波登-天计17雨刷可以电耦合到PE或刻字器21导致电位器17的雨刷移动,以增加对伺服系统的缓冲电压,使其将笔返回到图表15的左侧边缘。
在图中最好地看到了反向电压的变化,如图2所示。2电位器17包括缓冲电压,如电池源VI。电池VI的极性与极性相反换能器16的电压输出,电池VI与20电位器Pl串联,串联电路桥接电阻RL。电位器Pl可以调整以启用电压电池VI取消换能器16的输出,或降低电池VI电压的影响,直到它几乎可以忽略不计。当然,这发生在25时的阻力电路桥联电阻RL中的电位器Pl与电阻RL的值相比较大。
电位器Pl雨刷与刻字器21电耦合,并被安排在每一次刻字器到达极右时,被步进以扣出换能器输出的30个更大的部分在图表的边缘,有一个极限开关SL被驱动,以完成一个操作电路从电池到地面通过线圈的螺线管HL和导体17a。
因此,随着管道压力的增加,笔由伺服系统驱动,穿过图表的纸张,然后在图表的右侧再次开始。将在这里解释图一直在移动,作为流体体积的函数,40被迫进入被测管段。因此,该图类似于一系列平行线,直到极限达到管道的弹性。
图表的移动是在数字基础上完成的,作为45泵12转数的函数。更详细地说,提供了数字测量革命的手段泵12。齿轮23与泵相连,与泵的轴线转动,磁性拾取单元24在齿轮旋转时感知每个齿轮齿。例如,每50颗牙齿通过磁性拾取单元可以改变线圈铁芯的磁阻,从而导致通过线圈的电流的变化。为了本发明的目的,它并不确切地关系到如何磁拾取操作;重要的是,它的操作是提供55个数字输出,而不是模拟输出。
数字操作比模拟操作的优点之一是数字操作对噪声和其他不利环境条件不太敏感,例如,磁图可以使k-UP非常6°敏感,而不需要遭受噪声干扰问题。
在这个节点上使用磁性拾取的另一个优点是可以轻松地改变齿轮的耦合比,而不必修改65或移动部件,就像NEC一样当使用Selsyn或任何模拟类型的拾取时。
例如,如果要测试不同尺寸的管道,则只需在有色金属车轮或cylin-70der或磁盘中加入或减去脉冲产生硬币螺钉。另一个小时并且,当使用Selsyn拾取器时,必须更改齿轮列车以测试不同尺寸的管道或不同材料的管道。
提供了用于放大磁拾取器输出的手段,例如脉冲放大器26,图3显示实际使用的示例性放大器的细节。如图示意图所示,3磁性拾取单元24通过包含变压器TL的缓冲变压器布置耦合到放大器26。实际耦合是这样做的屏蔽引线27,28;屏蔽引线的屏蔽接地在一些方便的点29,另一个地面30是提供接地任何嗡嗡可能存在的任何不平衡。
电位器P3桥接变压器TL的二次,通过电位器P3和电阻R2的雨刷将PNP晶体管QI的基座耦合到正偏压电位。光度计P3调节放大器的增益,晶体管QI的基座通过电阻R3连接到地面,发射器直接连接到正电位。收集器是耦合的,通过负载电阻R4接地,并通过电阻R5耦合到第二PNP晶体管Q2的基座。电阻R5由反馈电容Cl桥接,第二晶体管的emi代er是直接耦合到正电位,晶体管Q2的集电极通过负载电阻R6耦合到地面。
当磁选产生的负脉冲通过变压器TL接收时,它们改变晶体管QI的偏置,使更多的电流流过晶体管QI。更大的电流通过晶体管QI的流动增加了电阻R4的IR下降,驱动晶体管Q2的基座向地面移动,进而导致更多的电流通过晶体管Q2。因此,放大器26放大从磁拾取24接收到的数字信号。
为电子方式改变数字磁选装置的“齿轮比”提供了手段,更详细地说,晶体管Q2的输出是所获得的放大输出来自磁性皮卡24的ED。这个数字输出被输入计数器26a,该计数器由多个触发器FF1与FF/2串行连接而成,分频器选择器拇指轮开关。26b,如芝加哥动力公司生产的,用于获得被测管型所接收的脉冲比输出。例如,当需要1:1的比例时,输出被获得直接来自晶体管Q2集电极的ED;当需要一个较小的比率时,输出从一个触发器FF1到FF/i。
放大器26的输出连接到功率脉冲放大器27,功率脉冲放大器的输出用于驱动数字步进电机28,该数字步进电机反过来驱动记录器阀芯22AS泵革命的函数。由于使用恒定排量泵,记录器阀芯被驱动为体积的函数。
对于泄漏测试,操作开关SI将定时脉冲发生器31的数字输出连接到放大器26。发电机31的输出导致电机28驱动阀芯作为功能数字定时脉冲的n。因此,当开关SI连接到时间脉冲发生器时,得到了压力与时间的关系图。
提供了记录测试期间经过时间的方法,在更详细的情况下,提供了一个同步时钟32从160伏A.C.电源连续驱动打印轮33。
方法如数字计数器36,用于自动计数泵12的转数,这是数字读出比模拟读出的优点之一。我看这个输出是非常有用的,例如,作为指示管段何时接近其指定的弹性极限。
在运行中,一段管道被密封并充满水。然后启动泵,自重测试仪用于校准压力传感器。当泵运行时,压力上升,导致钢笔作为压力的函数在图表上移动,这是数字移动作为体积的函数。当一个200p.s.i,增量变化已经发生,笔已经遍历了在电位器17的影响下,E图表再次返回到左手边距,从而生成一系列平行对角线;当达到弹性极限时,李然后生成的Ne不再平行于其他行。
作为一种帮助,以确定产生的线偏离平行手段的确切点,例如透明的模式,在其上有适当的平行对角线或一个小的移动德拉在图表上放置了Fting机器,这使得能够立即检测应变大于应力的点。虽然上述发明的原理已与特定的设备和应用有关,但可以理解的是,这种描述只是通过例子而不是通过例子来进行的作为对本发明范围的限制。
1. 用于测试压力容器以确定影响容器可靠性的特性的静压测试系统,包括用于将流体耦合到压力容器UN的歧管手段在试验中,正位移常量输送泵通过上述歧管手段将固定体积的流体输送到压力容器,换能器手段用于测量压力适用于所述压力容器,用于记录测试结果的手段,所述记录手段包括在所述图表上刻字的图表手段和手段,伺服系统用于移动所述刻字的手段指响应所述换能器的输出的数字手段,用于测量所述泵的转速的数字手段,意味着提供一个数字输出,这是流体传输体积的函数进入所述压力容器,以及用于驱动所述图表的数字电机手段,响应所述数字测量手段的输出,而所述刻字手段铭刻所述压力机的输出乌尔换能器在所述图表上表示,从而提供了所述压力容器屈服特性的图表。
2. 要求1所述的静水测试系统,其中所述数字测量手段包括凸轮手段耦合到所述泵轴和磁取力手段并列于所述凸轮手段的磁铁 传统的感测每次说凸轮意味着通过说拾取意味着产生数字脉冲。
3. 权利要求2所述的静水测试系统,以及通过所述拾取手段以电子方式改变所述数字脉冲数量的方法,所述测试系统可用于测试压力VES不同尺寸和大小的Sels无机械变化的5种材料。
4. 3的静水测试系统,其中所述电子手段包括一系列双稳态电路连接作为计数器和手段,以选择输出从输入到任何上述该系列的双稳态电路。
5. 提供了返回所述刻字器的手段,意味着在所述刻字器到达所述图形的远边后,在所述图形的第一边到达起始位置,其中电位器的意思是连接到所述换能器15,改变所述换能器输出的振幅意味着当所述刻字器意味着返回到所述第一边缘时。
6. 5的静水测试系统,其中说,返回意味着包括限制开关,意味着操作-20在说,铭文意味着达到说远边缘和我步进螺线管意味着操作响应操作。该限位开关用于步进所述电位器,以取消所述换能器的一些输出电压,以自动改变图表上的压力刻度。
7. 1和ampli的静压测试系统
菲尔意味着连接到所述数字测量手段的输出,同步时钟意味着产生定时输出,打印轮意味着转向响应所述定时输出,打印控制我用于操作所述打印-30英寸车轮打印在所述图表上,意味着耦合所述打印控制意味着所述放大器意味着导致所述打印控制意味着操作所述打印轮到p响应所述放大器数字输出的RINT。
8. 7的静水测试系统,其中35开关手段提供之间的所述数字手段和所述放大器意味着,时间脉冲发生器意味着提供单位时间的数字脉冲,意味着响应所述开关的操作,用于将所述放大器耦合到所述时间脉冲基因Rator是指当开关操作时,40图将记录泄漏特性。
9. 8的静水测试系统,其中计数器意味着耦合到所述放大器的输出,以提供时间或体积的视觉显示。
转载请注明精川材料检测地址:www.jctest.vip

